(1) 日常の外勤警察活動
外勤警察は、派出所、駐在所を拠点とする活動をはじめ、その活動内容が地域住民の身近な事案を取り扱っていることなどから、地域に密着した警察部門であるといえる。
その体制には、外勤警察官の活動拠点としての派出所、駐在所のほか、交通の要所に置かれる検問所、住宅団地等で開設する移動交番、機動警らを行う警ら用無線自動車(パトカー)や警察用舟艇があり、また、110番等緊急通報の受理やこれに対処する警察活動の指令に当たる通信指令室がある。これらは、常に相互に連携を保ちながら活動している。
ア パトロールで住民と心のふれあい
パトロールには、派出所、駐在所に勤務する外勤警察官の徒歩又は自転車によるもののほか、パトカーや駐在所のミニパトカー等によるもの、更に繁華街等においては、警察署の直轄警ら隊員や警備派出所の勤務員が集団で行うものなどがある。いずれも、犯罪の予防や検挙、交通の指導取締り、迷い子の保護等を目的としている。
各種のアンケートや座談会等で寄せられる国民の警察に対する意見のうち、外勤警察に関するものでは「パトロールを強化してほしい。」との要望が非常に強い。そこで、事件、事故の発生状況や地域の特性等を考慮しながら、徒歩によるパトロールと車両によるパトロールを組み合わせるなどして、パトロールが一定の地域や時間帯に片寄らないように計画的に実施するなど、できるだけパトロールの時間を多くして、地域住民の期待にこたえられるように努力している。
パトロールでは、管内の警戒や防犯指導等が重要な任務であるので、その際、各家庭の留守中、あるいは就寝中の戸締まりの不備や異状の有無等の発見と指導に配意するほか、これらの気付いた点を「パトロールカード」に記入し、郵便受け等に入れて防犯指導をする方法も、多くの府県で実施している。また、パトロール中に管内住民の親切な行為を知ったときには、「小さな親切運動本部」に表彰の推薦をしたり、子供の善行を独自に表彰したり、あるいは、「ミニレター」に善行の概要を記入して家庭に連絡するなど各都道府県警察においてそれぞれ住民との心の交流に工夫を凝らしている。そのほか、警察官はパトロール中にできるだけ、住民に一声かけたり、道路を横断しようとする老人や子供に手を貸すなど、住民とのふれあいを大切にするように心がけている。
〔事例〕 大阪府警察では昭和50年度にパトロールカード50万枚を作成し、パトロール時に活用している。このカードを郵便受け等に入れるときには、第三者に容易に発見されることのないように配意するほか、カードを配布した家庭には、後日、婦人警察官等を訪問させて防犯指導を行うなど、きめ細かい日常活動を展開している。その結果、住民から電話や手紙等で「深夜のパトロール、しかも一軒一軒丹念に見回ってくださってい
ることを知り、心強い。」、「細かい防犯指導をしてもらい、早速不備な所を改善した。」、「留守中のパトロールに感謝します。」などの感謝の声が寄せられている。
イ 住民の身近な存在を目指す活動
外勤警察は、国民の日常生活の安全と平穏を確保することを任務としているところから、その前提として、すべての外勤警察官は、常に地域住民の生活の身近な存在として受け入れられるように努力を続けている。なかでも、住民と警察とが、文字どおりひざ付き合わせて対話する巡回連絡は、パトロールと並んで最も力を入れている活動である。
巡回連絡は、外勤警察官がその受持区域の家庭や事業所等を各戸に訪問して、犯罪の予防や交通事故の防止について必要な指導連絡を行うとともに、住民の警察に対する要望、意見を聴くなどして、住民との間の信頼関係を深め、管内の実態を的確には握することを目的としている。効果的な巡回連絡を行うため、ちらしやパンフレット等を配布したり、防犯写真帳等を活用しているところが多い。
巡回連絡の実施回数は、地域の事情によっても異なるが、おおむね年に2回ぐらい各家庭を訪問することを目標としている。しかし、最近の都市への人口集中や警察事象の複雑化等から、目標どおりに実施できないことも多くなっている。特に、住宅団地等が新設されたり、増設された大都市圏や地方中核都市では、このような傾向が強い。
このような地域に対しては、派出所や駐在所を新設したり、既設の派出所等に警察官を増員するなどの努力をしているが、早急に改善が困難な所では移動交番を開設して、派出所等の活動を補っている。
移動交番の活動は、通常、移動交番車等の車両を用いて行い、数人の警察官が乗車して団地等を巡回し、各種の申請や届けの受理、防犯指導、困りごと相談等に当たるほか、青空座談会を開催することもある。また、移動交番開設の日時、場所を予告した上で巡回するなど、住民が利用しやすいようにその効果的な実施に努めている。
ウ 新興住宅地域の派出所
派出所は、市街地における警察の窓口として、常時その役割を果たしているため、勤務員は多忙な日課に追われている。なかでも、新興住宅地域を受け持つ派出所では、勤務員の増強をはるかに上回る急激な人口増加等により、勤務員は、いわば席を暖める暇もないという実情にある。
次に紹介する派出所の活動実態は、埼玉県下の新興住宅地域の実例で、この派出所の管内は、都県境から近距離にあるため、東京のベッドタウンとして急速に発展し、ここ10年間に人口が約5倍に、駅の乗降客が約3倍にも激増し、地域開発が始まった昭和37年当時に比べると、新たに転入してきた住民が、従来から住んでいた住民の約11倍にもなっているところである。
人口の増加に伴って、警察が取り扱う事案も急激に増加し、昭和50年中の1箇月平均で、刑法犯の発生が約40件、交通事故の発生は約15件、迷い子やでい酔者の保護が約30件と、いずれも10年前の6、7倍になっている。加えて街の歴史が浅く、新たに転入してきた住民が多いため、各種のもめごとの発生や困りごとの相談が多く、これらの解決や相談のため警察官の出動を要
請されることが多い。
勤務員は、地域の安全と平穏を願って、日夜活動しているが、取扱い事案が多いため、日常のパトロールや巡回連絡が勤務計画の半分程度しかできず、「パトロールをもっと増やしてほしい。」、「巡回連絡に来てほしい。」という住民の要望が寄せられる都度、これに十分こたえることができない悩みを痛感している。
この派出所は、勤務員11人が3班に分かれ、交互に日勤日、当番日、非番日を繰り返す3交替制をとっているが、ここに勤務する青年警察官の1人であるB巡査の活動実態を勤務日誌の記事を基にして紹介すると、次のとおりである。
〔B巡査の勤務実態〕
○勤務計画

○勤務計画と勤務実態の対比

8時30分
本署に出勤。幹部から服装、携行品の点検と指示を受ける。
9時00分
本日の勤務員C巡査ら4人(うち日勤員2人)とともに派出所に到着、前日の勤務員と引き継ぎ、交替する。昨日は比較的平穏だったとのこと。今日も事件、事故が発生しないようにがんばりたい。
9時20分
派出所の前に立って警戒。駐車違反、通行方法違反を犯そうとしていた車両を発見、運転者に対する指導、警告を3件行う。地理案内2件。うち1件は、田舎から息子夫婦の家を訪ねてきたおばあさんが、出迎えの息子と行き違い、訪ねる家も分からず途方に暮れて派出所に来たもので、所内で書類作成中のA巡査部長と手分けして、田舎の家族、息子の勤務先等を順次調査していき、ようやく息子夫婦に連絡をつけ、迎えに来てもらったところ、大変感謝され、うれしかった。
10時25分
「家の前で遊んでいた4歳の女の子がいなくなった。」と母親が顔色を変えて飛び込んできた。子供の服装、特徴等を聴き、必要な手配を済ませ、現場付近を捜したところ、約20分後、家から1キロメートルぐらい離れた道路上を泣きじゃくりながら歩いている子供を発見、保護して母親に引き渡す。引っ越してきて間がないため、遊んでいるうちに家が分からなくなり、家を探して逆方向へ行ってしまったもので、無事に発見できてホッとする。
11時05分
派出所に戻っていすに腰をおろすと、すぐ、「現金14万円余りをなくした。」との届出がある。その現金は奥さんの入院費用として支払うもので、大変困っている様子である。直ちに、利用したと思われるタクシー会社、通行した道路を管轄する派出所、駐在所、警察署に手配をしたが、まだ拾得届は出されておらず、親切な人が拾って届けてくれれば、と思う。
11時30分
65歳ぐらいの老人が「息子夫婦と折り合いが悪くて困っている。」と派出所へ相談に来た。私の父親を思い浮かべる。よく事情を聴き、助言をしたところ、大変喜んで帰っていった。ことによると、話相手かいなくて寂しかったのかもしれない…。
12時15分
休憩。昼食中、トイレットペーパー入りのダンボール箱1個の拾得届を受理。本署へ連絡。地理案内2件。休憩は、しばしば中断され、実質的には20分ぐらいしかできなかった。
13時05分
警ら。3時間の警らのうち、2時間を巡回連絡に充てる予定で出発したが、巡回連絡の途中、シンナー遊びをしていた少年2人を発見、補導したことと自動車が電柱と接触している交通事故を処理したため、巡回連絡は7世帯しかできず、16時10分帰所。この分では、自分が受け持っている1,500世帯の巡回連絡は、なかなか終わりそうにない。少しピッチを上げなくては…。
16時10分
巡回連絡簿等の整理、報告書の作成を行う。地理案内1件。
17時00分
派出所の前に立って警戒。拾得届2件、家出人の保護願1件を受理し、これの処理、本署への連絡を行う。
(17時15分、日勤員本署へ引き上げる。)
18時00分
休憩。夕食後間もなく、パチンコ店の前でもめごと、との110番があり、C巡査とともに現場へ。金銭の貸借問題で口論していたもので、冷静に話し合うよう説得し、19時05分帰宅させた。実質休憩25分。
19時10分
2時間警ら。途中、喫煙していた少年2人とパチンコ店に入っていた高校生3人を発見、補導する。最近、補導の対象になる少年が増加しているが、なぜだろう…。
交通違反の指導、警告2件。自動二輪車の信号無視検挙2件。
21時15分
帰所。
21時15分
休憩。地理案内1件。
22時00分
派出所内からの警戒。交通違反の報告書作成。その間、地理案内2件を行う。
23時00分
1時までの休憩中、23時40分、通信指令室から暴行事件発生との指令を受理し、警戒勤務中のC巡査とともに現場へ。泥酔者が暴れていたもので、本署に保護し、0時50分帰所。最近、一杯飲み屋が増えてきたせいか、酔っ払いも目立つようになってきた。
1時00分
派出所内からの警戒。警戒しながら報告書を作成中、1時25分、
通信指令室から、騒音苦情の110番通報を受理した旨の連絡があり、現場へ。ステレオの音が原因であったので、ボリュームを下げるよう注意して、1時55分帰所。
2時00分
2時間警ら。周囲の様子をうかがうように歩いていた男1人を職務質問したが、異状なし。警ら中、戸締まりの不備な家庭12戸にパトロールカードを配布し、3時55分帰所。パトロールカードをみて、今後、戸締まりに注意してくれればよいが…。
4時00分
C巡査と交替し、7時まで休憩。
7時00分
警ら。途中、自転車の盗難届を受理し、現場へ。実況見分と現場付近の聞込みを行い、8時40分帰所。最近、自転車盗難が増えてきた。何とか早く検挙しなければ、と思う。
8時40分
盗難関係書類作成。
10時10分
引継ぎをして本署へ。
10時30分
幹部に報告して退署。
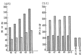
図2-1 遺失届・拾得届取扱状況(通貨・物品)(昭和46~50年)
図2-2 拾得物処理状況(昭和50年)
拾得物は、遺失者が判明すればその者に返還されて、拾得者は遺失物の価格の5~20%の報労金を受け取ることができる。また、拾得届出から14日(公告期間)と6箇月(法定保管期間)を経過しても遺失者が判明しないときは、拾得者がその所有権を取得することとなるが、その後2箇月以内に拾得者が引き取らないときは、その権利は消滅し、所有権は都道府県等に帰属する。
昭和50年における拾得物の処理状況は、図2-2のとおりである。
(2) 「親しまれる隣人」を目指す奉仕活動
ア 一人暮らしの老人の保護活動
老人問題が社会の関心を集めるようになって久しいが、一人暮らしの老人が自殺したり、事故に遭ったり、あるいはだれにも見とられずに死亡して、数日後に発見されるという痛ましい事案が跡を絶たない。
警察では、このような一人暮らしの老人や老人夫婦のみの家庭等をは握して、定期的に家庭訪問を実施するなど、保護の手を差し伸べている。昭和50年末現在、警察で保護活動の対象としては握している老人は約30万人で、そのうち約1万2,000人が寝たきり老人となっている。
派出所、駐在所の勤務員は、このような老人に対し、その保護の必要性に応じて家庭訪問をすることとしており、犯罪や交通事故等による被害防止の指導や関係行政機関や親せき等への連絡、あるいは困りごと相談等に当たっている。このほかに、警察官が個人的に援助の手を差し伸べていることも少なくない。
〔事例1〕 脇町警察署勤務のH巡査は、老人夫婦の家庭を訪問したところ、「痔の手術のため入院しなければならないが、身障者年金と生活扶助で生活しているのでその費用もない。そのうえ、妻(65)は下半身不随で歩くこともできず、途方に暮れている。」との相談を受けた。そこで、直ちに町役場に手配して入院させるとともに、残された夫人のために防犯ブザーを備え付けて、近隣者への連絡体制を整えるなどの保護活動を行った(徳島)。
〔事例2〕 長崎警察署丸山派出所のM巡査は、一人暮らしの老人の家庭を訪問したところ、玄関の戸が内側から施錠され、声をかけても返事がないのを不審に思い、窓から中を見ると、四畳半の部屋に顔面から出血して倒れている老人を発見した。救急車で病院に収容する一方、老人の親せきの者を探し出して連絡した。この老人は、足が悪いため倒れた際にテレビの角に顔面を打ったもので、M巡査の適切な救護措置により大事に至らなかった(長崎)。
イ 「一所管区一事案解決運動」
外勤警察が行う種々のCR活動(注1)のうち、全国的に定着して効果をあげているものに「一所管区一事案解決運動」がある。これは、外勤警察官が日常勤務を通じては握した所管区(注2)内での共通した困りごとや住民から警察に寄せられた要望等のうちから、早急に解決を要する問題を一つずつ取り上げ、住民の協力を得ながら処理するもので、運動の名称も、都道府県によっては「あなたの声にこたえる運動」、「街を明るくするやまびこ運動」等と住民に親しまれるように工夫を凝らしている。
(注1) CR活動とは「コミュニティ・リレーションズ活動」の略で、警察官と住民、あるいは警察と地域社会を構成する各種の団体等との間の相互理解を深め、血の通った暖かい関係を作るための施策や活動をいう。
(注2) 所管区とは、警察署の管轄区域を細分化して派出所、駐在所に分担させた区域で、勤務員は、それぞれの派出所、駐在所の所管区における警戒、警らや実態は握の第一次責任を負っている。
〔事例1〕 広島東警察署牛田派出所管内に約1,100世帯の団地があり、この周辺地域で自転車の盗難被害が多発していた。このため勤務員は、この地域での自転車盗の予防を一事案解決運動に取り上げ、パトロールを徹底する一方、町内会への協力依頼、被害者宅への訪問、ミニ広報紙による広報、放置自転車への「ミニレター」の取付け等の一連の活動を展開した。この活動が効を奏し、住民も積極的に自転車の施錠を励行する
ようになったほか、住民によるパトロールの実施等、自主防犯活動にまで発展した。その結果、昭和49年中に30件発生していた自転車の盗難が皆無となった(広島)。
〔事例2〕 築館警察署高清水駐在所管内は、交通量の多い国道が縦断している。この地域では、この国道が住民の生活道や小中学生の通学路にもなっており、住民から「交通事故防止のためのう回路が欲しい。」との強い要望があった。そこで駐在所勤務員は、住民と協議した結果、国道と町道との間にある杉林の中に道路を造り町道に連絡させれば解決するとの結論を得たので、町当局と土地の所有者等に交渉して承諾を取り付け、住民の奉仕作業により杉林内に約400メートルのう回路が完成した。その結果、日常生活の安全が確保され、住民の不安が解消した(宮城)。
「一所管区一事案解決運動」の結果、昭和50年中に全国で解決した事案は約8万8,000件で、前年に比べ約1万3,000件(約17%)増加している。
(1) 110番通報の処理
ア 50人に1人の利用
「ダイヤル110番」制度が発足してから既に27年余が経過し、この制度は、国民の間に、「110番即警察」といわれるまでに定着し、利用件数も逐年増加している。
昭和50年中に全国の警察で受理した110番通報は、図2-3のとおり237万9,832件で、前年より14万419件(6.3%)多く、
41年に比べると2倍強となっている。これは国民50人に1人の割合で利用されたことになる。
図2-3 110番通報の推移(昭和41~50年)
イ ピーク時には9秒に1回
110番通報の時間帯別受理状況は、図2-4のとおり午後10時から午前0
図2-4 時間帯別110番受理件数(昭和50年)
時までの時間帯が最も多く、全体の12.1%が集中している。この時間帯には、9秒ごとに1回の割合で利用されていることになる。
ウ 交通関係や被害の届出が依然上位
110番通報の受理状況を内容別にみると、図2-5のとおり、交通事故、交通違反等の交通関係の通報が最も多く、窃盗、暴行等刑法犯被害の届出も多い。
図2-5 内容別110番受理件数(昭和50年)
(2)パトカーの出動
ア リスポンス・タイム
最近5年間における主要都市のリスポンス・タイム(通信指令室で110番通報を受理してから、パトカーが目的地に到着するまでの所要時間)は、図2-6のとおりで、昭和50年中の平均所要時間は5分12秒と、前年に続きわ
ずかに短縮された。特に、横浜市で24秒短縮されたことが目立っている。
今後も警察は、リスポンス・タイムを短縮するための努力を続けることとしている。
図2-6 主要都市におけるリスポンス・タイム(昭和46~50年)
イ 検挙につながる早い通報
事件が発生した場合に素早い110番通報があると、より速くパトカーが現場に到着し、犯人を現場近くで捕そくでき、事案の解決も早い。
110番集中地域(注)において、110番通報によってパトカーが出動した場合の全刑法犯の検挙率をみると、表2-1のとおり、3分未満に現場に到着した場合には高くなっている。
(注) 110番集中地域とは、110番回線が警察本部の通信指令室に結ばれている地域のことで、この地域内ではどこからでも110番すると自動的に警察本部の通信指令室につながるようになっており、全国警察署の53.0%に当たる641警察署管内の110番回線が通信指令室に集中設置されている。110番集中地域以外では、110番すると所轄警察署の交換台につながることになっている。
表2-1 110番集中地域におけるリスポンス・タイムと検挙(昭和50年)
(3) 機動力の充実
ア 住民に親しまれるミニパトカー
山間、へき地における駐在所勤務員の日常活動を、より効率的にするため、昭和49年度からミニパトカーと愛称される小型警ら車(排気量1,000cc)の配置を進めている。
現在ミニパトカーは、全国300箇所の駐在所で地域住民に親しまれながら
犯罪や事故の防止、救護活動等に活躍している。
今までパトカーの姿を見ることが少なかった地域の住民は、駐在所に配置されたミニバトカーに大きな期待を寄せるとともに、地域の安全の維持と住民への奉仕に積極的に取り組んでいる警察に対して、従来にも増して信頼を寄せている。
例えば、昭和50年度にミニパトカーが配置された福岡県甘木警察署宝珠山駐在所管内の住民は、「大事なパトカーが名無しではかわいそう。」と村役場に働きかけ、村が広く愛称を募集して、このミニパトカーを「やまばと」と名付けるなど、ミニパトカーの活動に強い関心を示している。
イ 外勤警察官に携帯無線機
常に街頭にあって活動している外勤警察官の通信手段としては、従来は一方通話の受令機が中心であり、このほかには、街頭の公衆電話等を利用するしかなかった。これでは、警ら中に本署又は他の活動中の警察官と緊急の相互連絡をとるには極めて不便であったので、相互通話のできる第一線活動用携帯無線機の整備を推進している。この携帯無線機は、現在、東京都、大阪府、神奈川県等の都市部の派出所に約4,900台が配置され、これによって外勤警察官は、従来にも増して効果的な活動ができるようになった。特に、逃走する犯人を包囲する場合、また、職務質問の際に、直接現場からの照会、連絡によって指名手配中の被疑者を検挙する場合等に活躍している。
そのほか、事件、事故の処理中に別の急訴の届出を受けた場合等、直
ちに本署と連絡して適切に措置することもできるので、その効果的な活用に努めている。
(1) 住民が期待する空き巣ねらいの予防
昭和50年5月に総理府が実施した「犯罪や事故に対する不安及び警察活動に関する世論調査」の結果では、調査対象者の半数近くが「家を留守にする場合のどろほう」を心配しており、空き巣ねらい等を心配している国民がかなりいることが明らかになっている。また、「警察に特に力を入れてほしいと思うことは何か。」という問いに対し、27%が「空き巣等の侵入盗の取締り」を挙げている。
昭和50年中に警察が認知した空き巣ねらいの発生件数は、前年に比べ4,584件(3.0%)増加して15万7,958件に上り、侵入盗全体の47.4%を占めている。その発生状況についてみると、時間帯別では図2-7のとおり、昼(午前10~午後4時)が最も多く、家屋別では図2-8のとおり、一般住宅と木造アパートが多い。昭和50年中における東京都のアパート居住世帯1,000世帯当たりの空き巣ねらいの発生件数は13.6件で、一般住宅居住世帯の約
図2-7 被害時間帯別空き巣ねらいの発生状況(昭和50年)
図2-8 家屋別空き巣ねらいの発生状況(昭和50年)
5倍となっている。アパートがねらわれやすい理由としては、アパート居住世帯には独身等留守がちな者が多いことや管理人のいないアパートも多いなど、管理体制が必ずしも十分でないことが挙げられる。
空き巣ねらいの侵入状況についてみると、侵入口別では図2-9のとおり、表出入口が最も多く、侵入手段別では図2-10のとおり、施錠忘れや施錠設備がないなど、施錠不完全なところから侵入されているケースがかなりの割合を占めている。
図2-9 空き巣ねらいの侵入口別状況(昭和50年)
図2-10 空き巣ねらいの侵入手段別状況(昭和50年)
警察では、空き巣ねらいの多発地帯に対する重点的パトロール、いっせい防犯診断、防犯広報等を活発に行い予防に努めているほか、防犯協会等の民間防犯団体等の協力を得て、防犯座談会、映画会、展示会等を開催し、地域住民の防犯意識の高揚に努めている。また、アパートの防犯対策については、アパート経営者、管理人等に対しアパート防犯組織の結成や加入を呼びかけ、その協力を得て、アパートの防犯診断や防犯対策会議等を実施している。しかし、「犯罪の被害者になりたくない。」という住民の要望にこたえるためには、今後、なお一層防犯対策を強力かつ総合的に推進する必要がある。
〔事例〕 広島市東雲町本町1丁目町内会(1,300世帯)では、防犯工作班を結成し、日曜日ごとに町内会のメンバーと警察官が協力して町内の各
家庭を訪問し、空き巣ねらいの侵入口になりそうな箇所の点検を行い、危険な箇所にはその場で錠を取り替えたり、補助錠の取付け等を行った。その結果、それまで1箇月に20件前後もあった空き巣ねらいは大幅に減少した。
(2) 急増する自転車盗の予防
通勤や買物等の日常生活における自転車の利用が進んでいるため、自転車の保有台数は、図2-11のとおり年々増加し、昭和50年末で約4,300万台(日本自転車工業会調べ)となっている。また、自転車盗の発生も年を追って増加し、昭和50年には、前年に比べ1万5,639件(9.6%)増の19万123件も発生した。
図2-11 自転車保有台数・自転車盗発生件数の推移(昭和46~50年)
警視庁が、昭和50年10月、自転車所有者8,942人について行った自転車盗の防止に関する調査によると、自転車を買物等に使うときの保管場所については、59.5%の者が「路上や空き地」と答え、「自転車置場」と答えた者は、25.8% であった。自転車を通勤、通学に使うときの保管場所については、19.2%の者が「駅周辺の路上や空き地」と答え、「駅周辺の自転車置場」と答えた者は、13.0%であった。自転車を離れるときの施錠については、79.9%の者が「盗まれると困るから錠をかける。」と答えているが、17.1%は「目
の届く範囲だから。」などの理由で錠はかけないと答えている。
これらの調査対象者のうち、自転車盗の被害に遭ったことのある者は、全体の26.5%(2,368人)で、約4人に1人が被害の経験を持っているが、被害に遭った場所については、図2-12のとおり、「自宅前の軒下や路上」が、32.6%で最も多く、次いで「駅周辺の路上や空き地」が16.0%、「商店街等の路上や空き地」が12.6%で、大半は、路上や空き地に自転車を置いているときに盗まれている。
図2-12 警視庁の自転車盗に関する調査:被害に遭った場所
また、この調査で被害に遭った自転車の鍵の状況については、図2-13のとおり、「差込み錠をかけていた」が44.1%もあり、差込み錠が自転車盗の予防にあまり効果のないことがうかがわれる。また、「鍵はかけていなかった」が25.4%を占め、自転車が無防備の状態にあったために盗まれた者も多い。
図2-13 警視庁の自転車盗に関する調査:鍵の状況
警察では、自転車盗を防止するため、自転車が路上や空き地に放置されている駅周辺については、地方公共団体、国鉄、私鉄等に、商店街については、スーパーマーケットや遊技場の管理者等に対し、自転車置場を整備するように要請するほか、防犯協会、自転車商組合等の関係団体の協力を得て、自転車の防犯登録の推進や盗難予防に有効なチェーン錠等の使用の呼びかけを行っている。また、自転車盗が多発する駅周辺や商店街の重点的なパトロール及び放置自
転車や無施錠自転車を発見した場合の所有者に対する防犯指導等を行って、その予防に努めている。
(3) 多発する金融機関をねらう強盗事件の予防
昭和50年中には、表2-2のとおり、銀行、郵便局等の金融機関をねらう強盗事件が45件発生し、なかでも、多額の現金を輸送中に襲撃された事件が3件発生したことが注目される。例えば、昭和50年7月に京都府で発生した現金輸送中の強盗事件の場合は、約5,300万円もの多額の現金を輸送中であったのに、運転手のほかは、52歳の女子行員が輸送に従事しているのみで、十分な警戒体制がとられていなかったなど防犯上の問題点を指摘することができる。
表2-2 金融機関をねらう強盗事件の発生状況(昭和46~50年)
警察では、このような金融機関をねらう強盗事件を防ぐため、従来から、金融機関の保安体制、非常通報装置等の保安設備及び現金輸送業務の方法等を内容とする「金融機関の保安基準」を策定し、関係省庁を通じて金融機関に対する指導を実施しているほか、各都道府県警察では、「金融機関の保安基準」等を基準として防犯診断や防犯訓練等を実施し、金融機関の保安体制等の強化と防犯意識の高揚のための働きかけを行っている。また、金融機関が繁忙となる歳末には、金融機関の営業所及びその周辺の特別パトロールや金融機関との連絡会を開催するなど、防犯対策を強めている。
(4) 地域社会の自主防犯活動
ア 期待される防犯連絡所の活動
地域社会における自主的な防犯活動を活発化するため防犯連絡所が設けら
れている。
昭和47年以降の全国の防犯連絡所の設置数の推移をみると、図2-14のとおり年々増加し、昭和50年末には、全国で約58万箇所となり、55世帯に1箇所の割合で設置されている。また、昭和50年中の防犯連絡所から警察への通報、連絡の件数は、約20万件に及んでおり、その内容は、図2-15のとおり、犯罪、事故の通報が23.2%、次いで困りごとの要望が15.1%となっている。なお、防犯連絡所からの通報により、警察が検挙した事件の件数は、6,055件となっている。
図2-14 防犯連絡所の設置数の推移(昭和47~50年)
図2-15 防犯連絡所の通報・連絡状況(昭和50年)
防犯連絡所の活動には、このような警察への通報、連絡に限らず、地域住民との防犯についての話合い、防犯診断、警察の行う防犯活動への協力等がある。例えば、愛知県には、昭和50年末現在、1万6,105箇所の防犯連絡所が設置されており、表2-3のとおり活発な実践活動に努めている。これらの活動を推進するため同県の場合には、防犯連絡所相互の連絡、助言、相談、調査等及び警察との連絡に当たることを任務とする防犯活動推進員制度を設けている。
表2-3 愛知県内の防犯連絡所の実践活動(昭和50年)
また、北海道の防犯連絡所では、「ガードポイント制」を採用している。これは、駅やバスの停留所付近の防犯連絡所等を、郊外から都市部に通勤、
通学する婦女子の集団帰宅や家族の出迎えの拠点として、ガードポイントに指定しているもので、全道で286箇所が指定され、性犯罪等の防止に効果をあげている。
このような防犯連絡所の幅広い活動をより活発化するため、全国防犯協会連合会(以下「全防運」という。)では、昭和50年に「防犯連絡所の活動の手引」を作成し、全国の防犯連絡所に配布したほか、「防犯連絡所表示灯」5,715灯を設置している。
警察でも、防犯連絡所が地域における民間の自主防犯活動の拠点として大きな役割を果たしていることから、防犯連絡所との懇談会等の開催、広報資料の配布をはじめ、外勤警察官の立ち寄りの積極化等防犯連絡所に対する働きかけを強めている。
イ 犯罪発生0を目指す防犯モデル地区活動
防犯モデル地区は、警察や防犯協会が、比較的犯罪発生の多い新興住宅地、繁華街等を指定し、その地区の住民の自発的な参加を求め、日常生活の中で犯罪防止のための諸活動を行い、犯罪のない明るい街をつくろうとするものである。
全防連が指定した防犯モデル地区は、昭和50年末までに全国で124地区となり、地域住民の防犯意識高揚のため愛の鐘、防犯掲示板、放送施設のほか、防犯テレビ、街頭非常ベル、相互通報用防犯ベル等の防犯設備を設置し、地域住民の参加を得て、広報活動、防犯座談会、防犯パトロール等の幅広い活動を行っている。
〔事例〕 昭和50年に全防連の防犯モデル地区の指定を受けた宮崎市の「西橘通防犯モデル地区」は、市内随一の繁華街で暴力事犯、盗難等が多発
していたため、地区内の犯罪多発地点の防犯協会員宅30箇所の屋内に防犯ベルのスイッチを、屋外には防犯ベルを取り付け、防犯協会長宅に親機を設置した。犯罪が発生した場合には、現場に近い防犯協会員宅で防犯ベルのスイッチを押すと、屋外の防犯ベルが鳴ると同時に、防犯協会長宅の親機のベルが鳴り、赤ランプが点滅する仕組みになっていて、防犯協会長宅から警察へ、直ちに、110番で急報されることになる。この相互通報用防犯ベルの設置により、犯罪が速やかに通報されるので、警察の出動も早く、地区内住民や通行人等に安心感を与え、暴力団員等には無言の威圧となっているほか、地区内住民の防犯意識の高揚にも役立っている。
全防連指定の防犯モデル地区のほか、各地に警察や防犯協会が指定する防犯モデル地区があり、活発な活動が行われている。
〔事例〕 神奈川県警察では、昭和50年から全県的に防犯モデル地区制度をとり入れ、主として侵入盗多発地区を対象に59箇所を指定し、市町村、町内会、防犯協会等の代表者からなる「防犯モデル地区推進協議会」を結成し、地区内の防犯パトロール、防犯診断、防犯ベルや防犯灯の設置の促進等の活発な活動を行っている。
ウ 増加する警備業
昭和50年末の全国の警備業者数及び警備員数は、1,682社、7万1,333人となっており、最近5年間の推移をみると、表2-4のとおり逐年増加を続けている。
表2-4 警備業者数と警備員数の推移(昭和46~50年)
警備業は盗難等の発生を防止するほか、窃盗の現行犯人を逮捕したり、火災を早期に発見、通報するなど、防犯、防災面に寄与しており、その協力件数は、表2-5のとおり、昭和50年中は6,337件となっている。
表2-5 勤務中の警備員の犯人検挙等協力状況(昭和50年)
反面、勤務中の警備員による犯罪の発生件数は、表2-6のとおりであり、また警備業法違反、職業安定法(労働者供給事業の禁止)違反等により、警備業法に基づく行政処分を受けた警備業者は、昭和50年中に27社であった。警察としては、このような事犯を防止し、警備業務の適正な実施を図るため、警備業者に対する指導に努めている。
表2-6 勤務中の警備員による犯罪の発生件数(昭和50年)
(1) 家出人の発見活動
ア 増えた家出人
家出人は、心理的にも不安定な状態にあり、犯罪の被害者となったり、自殺したり、転落したりするケースも多く、また、残された家族が悲惨な生活を余儀なくされることも多い。このため、警察では、パトロール、少年補導、犯罪の捜査等あらゆる機会を通じ、家出人の早期発見に努めている。
警察に捜索願が出された家出人の数は、表2-7のとおり、昭和49年まではやや減少の傾向にあったが、50年には、前年に比べて7,514人(8.9%)増
加し、9万1,845人となった。
表2-7 家出人捜索願状況(昭和46~50年)
(ア) 多い女性の家出
捜索願が出された家出人の男女別をみると、表2-8のとおり、女性の占める割合が高い。
また、男女の構成率を年齢層別にみると、60歳未満では、各年齢層とも女性が高く、60歳以上では、逆に男性が高くなっている。
表2-8 捜索願のあった家出人の男女の年齢層別比較(昭和50年)
(イ) 増えた少年の家出
捜索願の出された家出人の成人、少年別をみると、表2-9のとおり、成人は5万3,694人(58.6%)、少年は3万8,151人(41.4%)であり、共に前年に比べて増加しているが、成人の増加率が4.0%であるのに対し、少年の増加率は16.6%となっており、これまでの少年の占める割合の減少傾向が増加に転じた。
また、成人、少年の家出人数をそれぞれの人口1万人当たりで比べると、成人は7.2人であるのに対し、少年は24.0人と驚くべき高さになっている。
なお、学生・生徒の家出の状況については、第4章の2(152P)「少年の保護」の項を参照。
表2-9 捜索願のあった家出人の成人、少年別の推移(昭和46~50年)
(ウ) 多い「恋愛・結婚問題」、「家庭不和」による家出
昭和50年中に捜索願が出された家出人の家出の原因、動機についてみる
図2-16 家出の原因(昭和50年)
と、図2-16のとおり、「恋愛・結婚問題」や「家庭不和」によるものが多くなっている。
大阪府警察が、昭和50年6月に、捜索願が出された家出人250人を対象にその原因、動機を分析した結果によると、男性の家出では、「借金苦」によるものが最も多く33.0%を占め、借金の理由は、ギャンブルや事業不振によるものが多い。一方、女性の家出の場合は、「異性問題」によるものが最も多く、34.7%を占めている。
(エ) 家出人率の高い沖縄、北海道、大阪
昭和50年の都道府県別にみた家出人率(注)は、表2-10のとおりで、沖縄が17.7人と最も高く、次いで北海道、大阪の順となっている。
(注) 家出人率とは、人口1万人当たりの家出人の数である。
表2-10 都道府県別家出人率(昭和50年)
イ 8割は、1年以内に発見
家出人の発見状況は、表2-11のとおり、昭和50年中に発見された家出人は9万3,353人で、前年に比べ、9,366人(11.2%)増加している。また、昭和50年中に捜索願を受理した家出人のうち昭和50年末までに発見された者は、7万4,764人で、81.4%になっている。
表2-11 家出人発見数の推移(昭和46~50年)
昭和50年中に発見された家出人について発見の方法をみると、図2-17のとおり、警察活動により発見された家出人は全体の53.7%で、その内訳では職務質問によるものが22.5%で最も多くなっている。
また、これらの発見された家出人の発見時の状態についてみると、ほとんどの者は無事に発見されているが、一方、罪を犯した者が、2,344人(2.5%)、自殺した者が1,699人(1.8%)、犯罪の被害を受けた者が560人(0.6%)となっている。
図2-17 家出人の発見方法(昭和50年)
(2) 酔っ払いの保護
昭和50年中に、でい酔あるいはめいてい状態で、自己又は他人の生命、身体に危害を及ぼすおそれがあったり、粗野又は乱暴な言動で公衆に迷惑をかけるなどの理由で警察に保護された者は、表2-12のとおり14万662人で、最近の数年間は、やや減少の傾向にある。
表2-12 酔っ払いの保護人数の推移(昭和46~50年)
これらの酔っ払いのうち、アルコール中毒者又はその疑いのある者として「酒に酔って公衆に迷惑をかける行為の防止等に関する法律」 第7条により保健所長に通報し、必要な治療を要請したものは、表2-13のとおりである。
昭和50年中に、酔っ払いとして保護した者の取扱いの状況をみると、図2-18のとおり、警察の保護室に収容した者が59.7%となっている。
表2-13 保健所長に通報した酔っ払い数の推移(昭和46~50年)
図2-18 保護した酔っ払いの取扱状況(昭和50年)
(3) 迷い子、急病人等の保護
昭和50年中に、酔っ払い以外で警察が保護した者は、表2-14のとおり14万9,178人で、最近の5年間では年々増加している。その原因別についてみると、迷い子が年々増加し、昭和46年に比べると約50%の増加となっている。
表2-14 保護原因別保護数の推移(昭和46~50年)
(1) 住民との対話
地域住民が住民のための警察を知ると同時に警察が住民の声を聴くことを目的として、各都道府県の警察本部では「県民の声を聞く会」等の広聴会を開催し、地域の治安状況や警察活動の実態を説明するとともに、警察に対する意見や要望を聴き、それに対して具体的に回答するなどして、警察に対する住民の理解と協力を得るよう努めている。
また、警察署においては、管内の住民との対話の機会を設けたり、地域の会合に参加するなどして、警察に対する苦情や不満を聴き、その解決に努めている。
昭和50年中に警察が開催した広聴会において、住民から寄せられた要望とそれに対して警察がとった措置のうちの幾つかを紹介すると、次のとおりである。
○ 栃木県「一日警察本部」(2月7日)
要望 子どもに柔剣道をやらせたい。そのために、警察署の道場を開放し、できれば警察職員による指導もしてほしい。
措置 柔剣道の練習予定を事前に連絡してもらい、道場の使用を認めることとした。警察職員による指導については、そのために警察職員を常に配置することは困難であるので、責任者が引率するよう依頼した。
○ 埼王県「市民と警察の話す会」(11月8日)
要望 警察署に免許証の更新に行ったが、込み合っており1時間30分も待ち、また、駐車場も一ぱいで困った。事務処理の改善をお願いしたい。
措置 免許証の更新件数が少ない平日を利用することについて広報するとともに、窓口を広くしたり、駐車場へ警察職員を配置し、来訪
者の整理誘導を図るなどの措置を講じた。
また、住民と警察とが一体になり、明るい地域づくりを目的として「市民と警察のつどい」、「ふれあい広場110」等の催しが行われている。
○ 岐阜県「ふれあい広場110」(4月5日)
岐阜県警察では、岐阜市内の小学校校庭で「ふれあい広場110」を開いた。当日は、音楽隊の演奏、警察官の逮捕術等の実演のほか、塗り絵コーナーを設けるなどして、集まった500人の市民との直接のふれあいを通じ、警察活動に対する理解と協力を深めた。
警察では、地域の情勢、住民意識等の変化に対応する警察活動を行うために、世論調査やアンケートを実施して住民の意見や要望を積極的に吸収するように努めている。具体的方法としては、警察が直接に行うものと、他の政府機関や地方公共団体の行う世論調査等に警察関係のテーマを組み込んで行うものとがある。
また、ほとんどの都道府県警察では、年民の声を警察活動に反映させるた
めモニター制度を採用している。
(2) 手づくりの味ミニ広報紙
派出所、駐在所では、広報活動の一つとして「派出所だより」、「駐在所だより」等のいわゆるミニ広報紙を発行している。
このミニ広報紙は、派出所、駐在所に勤務する外勤警察官が、警察に対する理解と協力を得るために、地域住民の身近で起きた事件、事故の状況や遺失物、拾得物、交通法令の講習会等各種のお知らせを取り上げ、主として勤務時間以外の時間を利用して発行しているものである。
地域住民からは、「手づくりの味がする地域の新聞」として好評を得ており、「発行回数をもっと増やしてほしい。」、「回覧ではなく、各戸配布にしてほしい。」などの要望が多い。一方、外勤警察官も、ミニ広報紙を自己紹介や巡回連絡の際の話題に活用できることから、その発行に意欲的に取り組み、年々発行回数、部数とも増加している。
警察庁では、ミニ広報紙発行の外勤警察官の努力を評価し、併せて広報内容や発行技術の向上を図るため、毎年1回全国コンクールを開催しており、
また、各都道府県警察でもその充実に努めている。
(3) 親しまれる警察音楽隊
「親しまれる警察」を目指す広報活動の一翼を担うものとして、警察音楽隊は欠くことのできない存在となっている。
警察音楽隊は、日常の演奏活動を通じて警察に対する地域住民の理解と協力を得ることを目的として設置されたものであり、昭和50年末現在、皇宮警察と都道府県警察を合わせて45隊を数え、隊員数は1,400人を超えている。
音楽隊員の大部分は、兼務隊員で、厳しい勤務環境の中で常に技術の錬磨に努めている。
警察音楽隊は、防犯運動や交通安全運動の行事のほか、市町村等が主催する公共的な行事や、幼稚園、小学校等で開催される音楽教育や交通安全教室、福祉施設やへき地での慰問演奏会等でも活躍しており、その演奏は、地域住民の心の中に警察への共感を呼び起こしている。昭和50年中の演奏回数は全国で延べ4,900回、聴衆の数は約1,300万人に及んだ。
警察庁では、音楽隊のより効果的な運用を図り、その技術の向上に努めるため、毎年1回、全国警察音楽隊演奏会を開催しているが、昭和50年10月には、第20回大会が大阪府警察発足20周年行事の一環として、大阪市で開催された。
(4) 増加する困りごと相談の利用
「相談相手がいなくて困っている人」や「警察を頼りにしている人」は、少なくない。警察に持ち込まれる苦情や相談ごとの中で、「困りごと相談」として処理したものは、表2-15のとおり、昭和50年中には、約14万6,000件を数え、年々増加している。
昭和50年中に、困りごと相談を持ちかけてきた人を年齢層別にみると、図
表2-15 困りごと相談受理件数の推移(昭和48~50年)
2-19のとおり、20~39歳が6万4,474人(44.1%)で最も多く、次いで40~59歳となっている。また、相談者の職業別にみると、図2-20のとおり、サラリーマンが3万3,537人(23.0%)と最も多く、次いで、商店、飲食店の営業者等の自営業者が多い。
図2-19 相談者の年齢(昭和50年)
図2-20 相談者の職業(昭和50年)
これらの困りごと相談の内容についてみると、表2-16のとおり、身上問題が3万2,344件(22.1%)で最も多く、次いで、金銭貸借問題が多くなっている。
警察では、これらの困りごと相談について、警察活動の範囲内で解決でき
表2-16 困りごと相談の内容(昭和48~50年)
るものについては積極的に解決に当たる一方、当事者の話合い等により解決できるものについては、指導、助言を行い、他の行政機関等にゆだねるべきものについては、その窓口の紹介や引継ぎを行うなど、できるだけ解決するよう努力している。
昭和50年中の困りごと相談の処理状況についてみると、図2-21のとおり、解決方法等の助言が最も多く55.3%を占め、次いで警察活動の範囲内で解決へ導いたものが36.2%となっており、警察の困りごと相談活動が、国民の困りごとの解決に寄与していることがうかがわれる。
図2-21 困りごと相談の処理結果(昭和50年)
現在、全国の警察本部や警察署では、困りごと相談の窓口を設けているが、なかには、特定のダイヤルの電話で相談を受け付ける「テレフォン・コーナー」を設けるところも増えてきている。警察では、このように困りごと相談の窓口をより利用しやすいものにするとともに、相談に当たる職員の研修を行い、困りごと相談の処理能力の向上に努めるなど、その充実、強化を図っている。